BIBLIOGRAPHY OF EARLY OPTICAL (AUDIO) COMMUNICATIONS
A work-in-progress by Chris Long and Mike Groth VK7MJ, June 2005.
The very first form of 'wireless' speech communication was achieved at optical wavelengths in 1878, more than 25 years before Reginald Fessenden did the same thing with radio. This incomplete bibliography lists all of the pre-1940 literature on modulated optical communications currently known to the authors of the 'bluehaze' web pages.
C.R. = Comptes Rendu Hebdomadaires des Seances de l'Academie des Sciences (Paris).
Ann. Chim. = Annales de Chimie et de Physiques (Paris).
E.T.Z. = Elektrotechnische Zeitschrift (Berlin).
1. "J.F.W.". "Letter re: usage of selenium for telephonic purposes written at Kew (London) 3 June 1878" in Nature, London, 13 June 1878. This appears to be the first published suggestion of the usage of modulated light for the conveyance of audio.
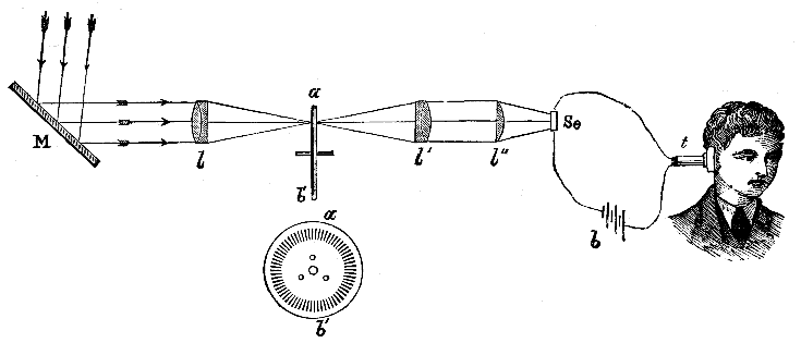
2. ALEXANDER GRAHAM BELL. "On the Production and Reproduction of Sound by Light: the Photophone." Am. Ass. for the Advancement of Sci., Proc., Vol 29., October 1880, pp. 115-136. Also in American Journal of Science, Series 3. No. 20, 1880, pp. 305-324; Eng. L., 30. 1880, pp. 240-242; Electrician, Vol 5. 1880, pp. 214-215, 220-221, 237 ; Journal of the Society of Telegraph Engineers, No. 9, 1880, pps. 404 - 426; Nat. L., Vol 22. 1880, pp. 500-503; Ann. Chim. Phys., Serie 5. Vol 21. 1880, pp. 399-430; E.T.Z., Vol. 1. 1880, pp. 391-396. Discussed at length in Eng. L., Vol 30. 1880, pp. 253-254, 407-409. In these papers, Bell accords the credit for the first demonstrations of the transmission of speech by light to a Mr A C Brown of London "in September or October 1878".
3. J. ARMENGAUD. " Le photophone de M.Graham Bell." Soc. Ing. civ. Mem., year 1880, Vol 2. pp. 513-522.
4. ALEXANDER GRAHAM BELL. "Sur l'application du photophone a l'etude des bruits qui ont lieu a la surface solaire." C. R., Vol. 91. 1880, pp. 726-727.

5. A. BREGUET. "Les recepteurs photophoniques de selenium." Ann. Chim. Phys., Series 5. Vol 21. 1880, pp..560-563.
6. A. BREGUET. "Sur les experiences photophonique du Professeur Alexander Graham Bell et de M. Sumner Tainter": C.R.; Vol 91., 1880, pp 595-598.
7. A WEINHOLD. "Herstellung von Selenwiderstanden fur Photophonzwecke." E.T.Z., Vol 1, 1880, p.423.
8. ALEXANDER GRAHAM BELL. "Professor A G Bell on Selenium and the Photophone." Pharm. J. and Trans., Series 3. Vol. 11., 1880-1881, pp. 272-276; The Electrician No 5, 18 September 1880, pps 220-221 and 2 October 1880 pps 237; Nature (London) Vol 22, 23 September 1880, pps. 500 - 503; Engineering Vol 30, pps 240-242, 253, 254, 407-409; and Journal of the Society of Telegraph Engineers Vol 9, pps 375-387.

9. SIR WILLIAM H PREECE. "The Photophone and the conversion of radiant energy into sound." Journal of the Society of Telegraph Engineers, volume 9, 1880, pps 363 - 375.
10. ALEXANDER GRAHAM BELL & CHARLES SUMNER-TAINTER - PATENTS (U.S.) Nos. 235199; 235496; 235497; 235590 and 235616, December 1880.
11. ALEXANDER GRAHAM BELL. "Other papers on the photophone" E.T.Z. No. 1, 1880, pps 391-396; Journal of the Society for the Arts 1880, No. 28, pps 847-848 & No. 29 pps 60-62; C.R. No. 91, 1880 - 1881, pps 595-598, 726, 727, 929-931, 982, 1882 pps 409-412, 450, 451, 1224-1227.
12. "Bell's Photophone." Nature Vol 24, 4 November 1880; The Electrician, Vol. 6, 1881, pps. 136-138.
13. "The Photophone." Appleton's Journal, Vol. 10 No. 56, New York, February 1881, pps.181-182.
14. SHELFORD BIDWELL: "The Photophone." Nature., 23. 1881, pp. 58-59.
15. SHELFORD BIDWELL. "Selenium and Its Applications to the Photophone and Telephotography." Proceedings of the Royal Institution (G.B.), Vol 9. 1881, pp. 524-535; The English Mechanic and World Of Science, Vol. 33, 22 April 1881, pps 158-159 and 29 April 1881 pps. 180-181. Also in Chem. News, Vol. 44, 1881, pp. 1-3, 18-21. (From a lecture at the Royal Institution on 11 March 1881).

16. SIR WILLIAM H PREECE, "Radiophony", Engineering Vol. 32, 8 July 1881, pps. 29-33; Journal of the Society of Telegraph Engineers, Vol 10, 1881, pps. 212-228. On the photophone.
17. S. KALISCHER. "Photophon ohne Batterie." Rep. f. Phys., Vol. 17., 1881, pp.563-570.
18. E. MERCADIER. "La radiophonie indirecte." Lumiere Electrique, Vol. 4, 1881, pps 295-299.
19. E. MERCADIER. "Sur la radiophonie produite a l'aide du selenium." C. R., Vol 92,1881, pp.705-707.
20. E. MERCADIER. "Sur la construction de recepteurs photophoniques a selenium." C. R., Vol 92, 1881, pp. 789-790.
21. E. MERCADIER. "Sur l'influence de la temperature sur les recepteurs radiophoniques a selenium." C. R., Vol. 92, 1881, pp. 1407-1408.
22. MOLERA and CEBRIAN. "The Photophone." Eng. L., Vol. 31, 1881, p. 358.
23. ANDREW JAMIESON: Nat. L., Vol. 10, 1881, p. 11. This Glasgow scientist seems to have been the first to suggest the usage of a manometric gas flame for optical transmission, demonstrated at a meeting of the Glasgow Philosophical Society; "The History of selenium and its action in the Bell Photophone, with description of recently designed form", Proceedings of the Philosophical Society of Glasgow No. 13, 1881, pps 109-121; "Photophone Experiments", Nature Vol. 23, 10 February 1881 p.354.

24. J. MOSER. "The Microphonic Action of Selenium Cells." Phys. Soc., Proc., Vol. 4, 1881, pp. 348-360. Also in Phil. Mag., Series 5, Vol.12, 1881, pps. 212-223.
25. "Bell's Photophone", Electrician, Vol. 6, 5 February 1881, pps. 136-138,183.
26. SILVANUS P. THOMPSON. "Notes on the Construction of the Photophone." Phys. Soc.Proc., Vol. 4, 1881, pps.184-190. Also in Phil. Mag., Vol. 11, 1881, pp. 286-291. Abstracted in Chem. News, Vol. 43, 1881, p. 43; Eng. L., Vol. 31, 1881, p. 96.
27. H. TOMLINSON. "The Photophone." Nat. L., Vol. 23, 1881, pps. 457-458.
28. ALEXANDER GRAHAM BELL: "The Spectrophone", Bull. Phil. Soc. Vol. 4 p 142, 1881.
29. CHARLES E. FRITTS. "On a New Form of Selenium Cell, and Some Electrical Discoveries Made by Its Use." Am. Ass. for the Advancement of Sci., Proc., Vol. 33, 1883, pps. 97-108. Also in Lumiere Electrique, Vol. 15, 1885, pps. 226-231. On 22 October 1880 Fritts patented a system (US Patent 1,203,190) for recording modulated light on moving photographic film. The patent was finally granted some years after Fritts' death, in 1916.

30. WILLIAM ACKROYD. "The Photophone" in "Science for All", Vol. 2 (R. Brown, ed.), Cassell & Co., London, circa 1884, pps. 307 - 312. A popular account, profusely illustrated with steel engravings.
31. HENRY SUTTON and 'E.R.': "Les problemes de la telephonie." Reviewed in La Lumiere Electrique, Vol. 38, 1890, pp. 538-541. Sutton was an Australian, originally based at the Ballarat School of Mines in the 1880s. He proposed, but did not construct, an early plan for a television system in 1890.
32. GEORGE B PRESCOTT: "The Electric Telephone", D. Appleton-Century Company Inc., New York, pps 320 ff, second edition, 1890. The first edition of this book, in 1879, contained no references to the photophone.
33. FRANTZ DUSSAUD. "Sur la transmission des sons par les rayons ultra-violets." C. R., Vol. 128, 1899, p. 171.
34. WILLIAM DU BOIS DUDDELL. Electrician, Vol. 46, 1900, Nos. 8 and 9. Control of a modulated DC arc for transmission by placing a carbon microphone in the field circuit of the dynamo producing the DC.
35. WILLIAM DU BOIS DUDDELL. J. Instn. Elect. Engrs., Vol. 30, 1900, p.232 ff. On 'the speaking arc' - DC carbon arc modulated by a transformer-coupled carbon microphone.
36. ERNST WALTER RUHMER. "Der sprechende elektrische Flammenbogen und seine. Verwendung zur 'drahtlosen Telephonie'." E. T. Z., Vol. 22, 1901, pps.196-198.

37. ERNST WALTER RUHMER. "Ueber das sprechende Licht." Phys. Z., Vol. 2, 1901, pps. 325-328.
38. ERNST WALTER RUHMER. "Neue Sende-und Empfangsanordnung fur drahtlose Telephonie." Phys. Z., Vol. 2, 1901, pp. 339-340.
39. H. T. SIMON. "Tonende Flammen and Flammentelephonie." E. T. Z., Vol. 22, 1901, pps. 510-514.
40. H. T. SIMON. "Ueber den sprechenden Flammenbogen und seine Verwendung zu einer Telephonie ohne Draht". Phys. Z., Vol. 2, 1901, pps. 253-258.
41. ERNST WALTER RUHMER. "Neuere Versuche mit Lichttelephonie." E. T. Z., Vol. 23, 1902, pps. 859-862.
42. H. T. SIMON and M. REICH. "Tonende Flammen and Flammen-Telephonie." Phys. Z., Vol. 3, 1902, pps. 278-286.
43. AMERICAN TELEPHONE AND TELEGRAPH COMPANY: "The Radiophone", pamphlet distributed at Louisiana Purchase Exhibition, St Louis, Missouri, 1904. Describes the photophone work of Hammond V Hayes at the Bell Labs (patented 1897) and the German engineer H T Simon in the same year.
44. J. W. GILTAY. "Experimental-Untersuching uber die Moglichkeit einer Doppeltelephonie mittels unterbrochener Klange." Amsterdam Akad., Ver., Sec.1, Deel 9, No.3, 1906. See also English translation. Giltay apparently used the pressure-modulated ('manometric') gas flame for transmission.
45. G. WEIDHAAS. "Einfache Versuche zur Demonstration der Licht-telephonie." Z. phys. u. chem. Unterricht, Vol. 20, 1907, pps. 93-96.
46. ERNST WALTER RUHMER, "Wireless Telephony in Theory and Practice", Crosby Lockwood and Son, London,1908. The first major book on the subject of modulated optical communication in English, with an exhaustive bibliography.
47. B. THIEME. "Flammen als physikalische Apparate." Phys. Z., Vol. 17, 1916, pps. 259-260. "Light Wave Telephony." Sci. Am. Mont., Vol. 1, 1920, pps. 83-84.

48. A. O. RANKINE. "On The Transmission of Speech by Light." Physical Society of London, Proceedings, Vol. 31, 1919, p. 242 - 268.
49. A. O. RANKINE. "Talking over a Sunbeam." El. Exp. (N. Y.), Vol. 7, 1920, pps. 1265-1316.
50. W. W. COBLENTZ. "Infra-red signalling." Phys. Rev. Vol. 15, p.340 (1920); S.P.No.398, Bureau of Standards, p.636, 1920. U.S. Patent 1,345,586. Coblentz worked at the United States Bureau of Standards during the First World War, developing methods for covert signal transmission and detection.

51. H. VON THIRRING. "Neue Apparate fur Lichttelephonie". Physik. Zeits. Vol. 21, p 67, 1920. Includes an extensive German bibliography of the subject.
52. E BECKMANN & P KNIPPING. "Suggested methods of secret signalling". Sitz. Pruess. Akad. Wiss. Vol. 25 p. 443 ff. (1920); Sci. Abs. Vol. 24A, No 858, 1921.
53. THEODORE WILLARD CASE. "Infra-red Telegraphy and Telephony", J. Opt. Soc. Am., Vol. 6, p 398 ff. 1922. Case had been working on infra-red covert signalling devices using his 'Thalofide' photo-conductive cell since 1917.
54. H. VON THIRRING. "Selenzellen und Lichttelephonie." Z. f. technische Phys., Vol. 3, 1922, pps. 118-120.
55. G. G. BLAKE. "Communication on Wave-Lengths Other than Those in General Use." Exp. Wireless, Vol. 2, 1925, pps. 561-572. Blake seems to have been the first to apply thermionic valve amplification to the output of the receiver's photocell.

56. G. G. BLAKE. "Rods of Silica, Glass, CS2, in Tubes, etc., for the Transmission of Light round Bends for Photophony." British Patents applied for Nos. 6691 (year 1925), and 5801 (year 1925). These would appear to be the master patents anticipating the advent of optical fibre transmission. However, in an essay published in 1967, Professor A E Karbowiak of the University of New South Wales refers to two pioneering papers on the propagation of electromagnetic waves along dielectric cylinders - neither, unfortunately, so far sighted by the authors of this web bibliography. These consisted of a theoretical treatment by P Debye and D Hondres in Ann. Physik, Vol. 32, p.465 (1910); and an experimental treatment by O Schriever in Ann. Physik, Vol.63, p.645 (1920). The suggested usage of a glass rod 'light pipe' for conveying modulated light in television scanning systems dates back at least to H C Saint-René's suggestion in Comptes Rendu Vol. 150, pps 446-467, year 1910. It is also mentioned in one of John Logie Baird's earliest patents, 'Apparatus for transmitting scenes or representations to a distance' - British Patent 253,957: 1 January 1925 and 1 July 1926.
57. R. H. WHITE. "Photophone." Harmsworth's Wireless Encyclopaedia, Vol. 3, pps. 1541-1544.
58. CATHERINE C MACKENZIE. "Alexander Graham Bell", Houghton Mifflin Company, Boston, p.226, 1928.
59. UNITED STATES RADIO AND TELEVISION CORPORATION. "Ultra-violet rays used in Television", New York Times, 29 May 1929, p.5: Demonstration of transmission of a low definition (mechanically scanned) video signal over a modulated light beam. Terminal stations 50 feet apart. Public demonstration at Bamberger and Company's Store, Newark, New Jersey. Earliest known usage of modulated light comms for conveying video signals. See also report "Invisible Ray Transmits Pictures" in Science and Invention, November 1929, Vol 17, p.629.
60. GEORGE P. BARNARD. "The Optophone: Photophony, or Light-Telephony", Chapter 8 of "The Selenium Cell: Its Properties and Applications", Constable & Co. Ltd, London, 1930, pps 240-259.
61. DR E F W ALEXANDERSON. PATENTS: "Signalling by Light" - unknown American patent dated 19 December 1931 to General Electric Company; British Patent 395,242 dated 29 November 1932 assigned to British Thomson-Houston Company. Light beam transmission of TV video signals. Camera video modulates an RF oscillator, which then modulates an arc lamp. Light from the arc actuates a distant photocell receiver. See also "Light Beam Casts Television Images" in New York Times 23 December 1931 p.1 - demonstration of Alexanderson's video/light beam transmitter at Schenectady, New York. Another report in Citizens Radio Call Book Magazine, "Television on a Beam of Light", March 1932, p.40.
62. MARCONI COMPANY (UK). "Television transmission over a light beam at British Association meeting [Leicester]" in The Electrician, volume 111, 8 September 1933, p. 299. 50-line TV pics shown on four foot screen after transmission by modulated light beam by the Marconi Company. See also Television, London, 6 October 1933, pps 341-343 "Demonstrations at the 'B.A.'".
------------------------------------------------------
If you are aware of other references on modulated light communication from this period, please contact Chris Long at the following e-mail address:
Your addition/s will be acknowledged on this page as it (hopefully) grows!
------------------------------------
Last update to this page: Monday 20 June, 2005.